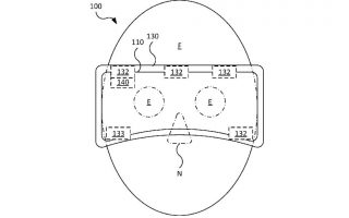
Apple testet laut Leak von Mark Gurman eine grundlegend verbesserte Tastatur für das iPhone.
Apple testet laut Leak von Mark Gurman eine grundlegend verbesserte Tastatur für das iPhone.
OpenAI integriert seinen Dienst ChatGPT direkt in Apples Fahrzeughilfe CarPlay.
Wer bei seinem neuen Power-Laptop Lahmheit spürt, sollte sofort handeln.
Wer höchste Bildqualität sucht, kann bei Apples neuem Profi-Monitor Studio Display XDR nun kräftig sparen.
Anker hat mit dem soundcore Boom 3i vor acht Monaten einen neuen Bluetooth-Speaker vorgestellt.
Der offenbar gute Kontakt von Apple-CEO Tim Cook zu Donald Trump bleibt umstritten.
Ein legendärer Beatle verzaubert das Apple-Hauptquartier in Cupertino mit Musik.
Apple hat durch einen technischen Fehler KI-Funktionen in China freigeschaltet, obwohl die Genehmigung noch fehlte.
Apple wurde gestern 50 Jahre. Wie geht es mit dem Unternehmen weiter? Und wie mit dem iPhone?
Nach einem ereignisreichen März, in dem Apple über zehn neue Produkte vorgestellt hat, geht es nun weiter im Jahreszyklus.
Apple hat kurzfristig ein neues und sehr wichtiges Update für ältere iPhones veröffentlicht.
Am heutigen Tag feiert Apple den 50. Geburtstag. Wir feiern mit. Was von 2016 bis heute, 2026, passierte.
Der Deal-Ticker informiert immer aktuell über die besten Rabatte bei Apple-Geräten, Gadgets, Zubehör & Apps.
Mit dem SolarSaga 40 Air bringt Jackery eine überarbeitete Version seines kompaktesten Solarpanels auf den Markt.
Apple hat seine Liste veralteter Produkte aktualisiert, was die Reparierbarkeit dieser Geräte einschränkt.
