Apple hat sich ein Patent auf ein neuartiges spannendes Case gesichert.
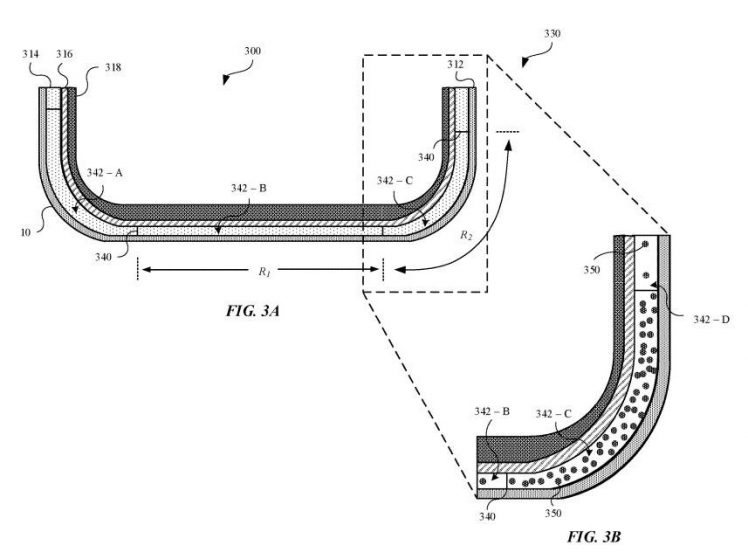
In dem Dokument wird beschrieben, wie eine Hülle Events wie einen Fall erkennen kann. In der Hülle soll ein kleines Prozessor sowie ein magnetischer Schaltkreis verbaut sein.
Beim Fallen verhärten
Der Prozessor kann mit diesem kommunizieren und ihm Anweisungen geben. Wird das Gerät fallen gelassen, kann so zum Beispiel die Anweisung gegeben werden, die Hülle zu härten.

Dadurch soll das iPhone noch besser geschützt werden. Wie immer bei Patenten ist noch unklar, ob die Technologie praktisch umgesetzt wird.
