Apple hat ein neues Patent speziell für Wearables eingereicht.
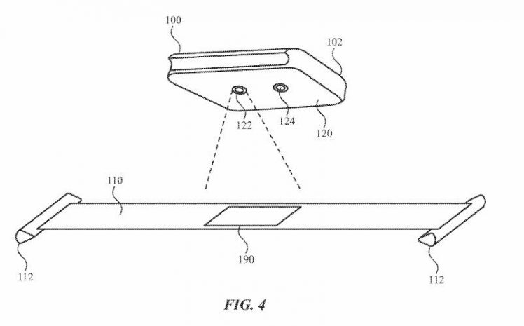
In dem Dokument beschreibt das Unternehmen, dass Wearables eine Uhrband-Erkennung eingebaut haben können. So würde sich erkennen lassen, welche Art von Uhrband aktuell verwendet wird.
Aktionen je nach Uhrband
Je nach Band könnte das Gerät auch den Modus wechseln oder bestimmte Aktionen ausführen. Als Beispiele werden Anpassungen im UI oder das Ändern von Einstellungen genannt.

Erkennung über QR-Code und Kamera?
Für die Erkennung des Bandes könnten bestehende Sensoren verwendet werden. Möglich wäre zum Beispiel eine kleine Kamera, mit der ein QR-Code gescannt wird.
