Apple könnte In Zukunft eigenes Schlaf-Tracking-Zubehör anbieten.
Mit Beddit hat Apple bereits einen Hersteller für Schlaf-Tracking-Zubehör hinzugekauft. Ein neu veröffentlichtes Patent zeigt, dass die Forschung an diesen Technologien weitergeht.
Schlaf-Verhalten überwachen
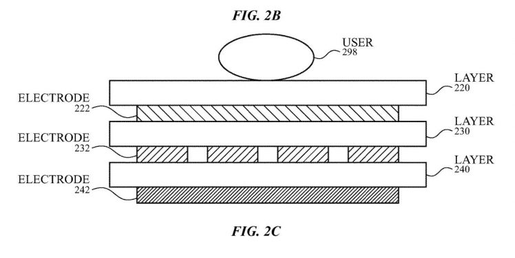
Das Dokument beschreibt ein Überwachungs-System mit einer Vielzahl an Sensoren, die unterschiedliche Messungen vornehmen können. Somit soll sich der Schlaf des Nutzers gut überwachen lassen.
![]()
Messung in gewohnter Umgebung
Es wird erwähnt, dass der User dies nutzen kann, ohne sich in einer ungewohnten Umgebung aufhalten zu müssen, wie zum Beispiel in einem Schlaflabor.
Wie immer: Ein Patent bedeutet noch lange nicht, dass auch eine praktische Umsetzung folgen wird.
