Apple hat wieder die Aktion „Blockbuster am Wochenende“ ausgerufen.
Alle Apple Infos und Gerüchte kompakt und kompetent.
Apple hat wieder die Aktion „Blockbuster am Wochenende“ ausgerufen.
Facebook und Co. kritisieren Apples kommende Abfrage zum Nutzer-Tracking weiter heftig.
Was hat die Apple-Woche gebracht?
Der Entwickler Kosta Eleftheriou deckt weitere Betrugs-App im App Store auf.
Apple hat beim US-Patentamt Beschwerde gegen das Logo eines Getränke-Anbieters eingereicht.
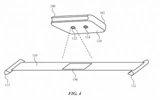
Apple hat per Pressemitteilung bekanntgegeben, dass ein Zubehörprogramm für das „Wo ist?“ Netzwerk gestartet wird.
Alle Apple-Betriebssysteme haben eine neue Beta-Version erhalten.
Gerade hat Apple eine neue deutschsprachige Datenschutz-Sonderseite freigeschaltet.
Es gibt mittlerweile über zwei Millionen Podcasts bei Apple zum Anhören.
Entwickler, die Apples Find My-Dienst nutzen wollen, können nun ein neues Tool nutzen.
Die Produktion von Apples A15-Chip soll bereits nächsten Monat starten.
Aktuell haben die Marktforscher von MixPanel neue Zahlen zur iOS-14-Verbreitung veröffentlicht.
Ein neue Studie hat ermittelt, dass Apple mit Apple TV+ aktuell viel Geld verliert.
In einem Interview gibt sich Tm Cook schockiert über die Kritik an Apples App Tracking Transparency.
Was hat die Apple-Woche gebracht?
