Apple hat ein neues Patent für AR/VR-Brillen eingereicht.
In dem Dokument wird beschrieben, dass eine solche Brille mit Sensoren messen kann, wie aufmerksam der Träger ist. Diese Information kann auch verwendet werden, um entsprechende Inhalte anzuzeigen.
Glassensoren reagieren auf Stress
Zudem könnte ein Headset mit diesen Funktionen auch auf das Stresslevel der Benutzer reagieren und dann etwa Anwendungen anders einstellen. Beispiele dafür gibt das Patent allerdings nicht her.

Erweiterung für künftiges Vision Pro?
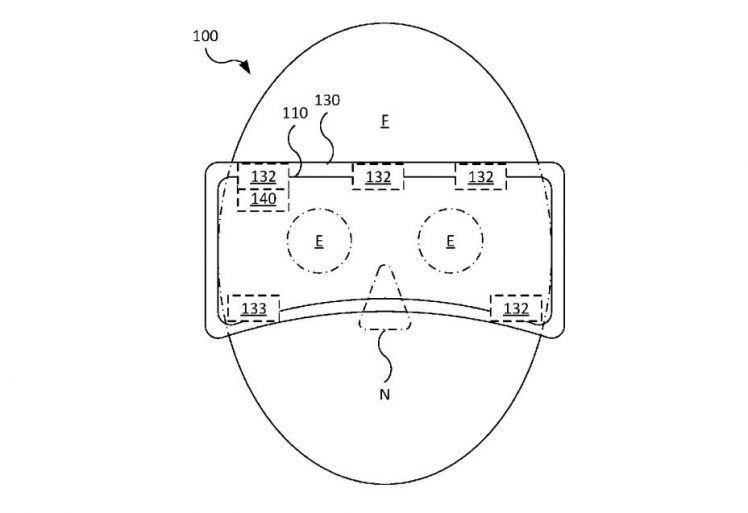
Die Patent-Beschreibung lautet:
Ein am Kopf befestigtes Display umfasst eine Anzeigeeinheit und eine Gesichtsschnittstelle. Die Anzeigeeinheit zeigt dem Benutzer grafische Inhalte an. Die Gesichtsschnittstelle ist abnehmbar mit der Anzeigeeinheit koppelbar und greift in einen Gesichtseingriffsbereich eines Gesichts des Benutzers ein, wodurch die Anzeigeeinheit auf dem Gesicht des Benutzers gehalten wird. Die Gesichtsschnittstelle umfasst einen physiologischen Sensor zum Erfassen eines physiologischen Zustands des Benutzers im Gesichtseingriffsbereich.
Das Patent klingt nach etwas, über das die Vision Pro in Zukunft verfügen könnte. Ob und wann Apple eine konkrete Umsetzung plant, ist aber anhand des bloßen Patents nicht zu sagen.

